1 はじめに
こちらの記事は、静岡県で30年間以上続く教員サークル、シリウスのホームページに掲載されている教育実践法の一つをご紹介しています。
シリウスのホームページはこちら→ 静岡教育サークル/シリウス
是非、下記リンクもご参照ください↓↓↓。
ジュースがたくさん入る入れ物は? ~立体の体積(シリウス) | EDUPEDIA
2 実践内容
柱体の表面積の学習をおこなった。三角柱・四角柱・円柱とも
立体の表面積 = 底面の表面積+側面の表面積
であるから、グループ別に考えた。(教師は3人で3つのグループにわかれる。)求め方がわかったところで、それぞれの表面積の求め方を紹介しあった。まず、3つの立体を提示して、
発問1
ここに3つの箱があります。ペンキを塗っていくのだけれど、ペンキの量をなるべく少なくするためには、どの立体が一番少なくなるでしょう。見た目でどれが少ないか決めましょう。
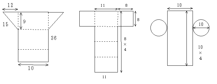
用意した立体は、次のものである。 
立体を見ただけでどれが一番ペンキが必要かを考えさせた。3つの立体を比べるときに、次のことを確認した。
・ペンキを塗る量は、表面積を調べればいいこと
・三つの立体の表面積をそれぞれ出したあと、一斉に比べる
発問2
1つ立体を選んで、どのくらいペンキを使うかグループごとに検討しよう。
子どもたちの予想は、次のようにわかれた。円柱と考えた子が一番多かった。
< 三角柱 > 15人 < 円柱 > 36人 < 四角柱 > 20人
三角柱グループは、表面積の求め方について、次のような話し合いをした。
< 三角柱 > 15人
A:すべての面の面積をそれぞれ出す。
B:展開図にして、三角形と長方形の面積をそれぞれ出す。
「もっと簡単に計算したらいいのではないかなぁ」という声があがったので、もっと簡単な方法がないか考えた。
・底面積は底面積で求める。側面積はバラバラに求めないで、展開図で考えるといっぺんに求めることができます。
・三角形のまわりの長さは側面積の横の長さと同じになるから、三角形のまわりの長さ×三角柱の高さをすれば、側面積が出ると思います。
それぞれのグループの表面積が出たところで、求め方を紹介しあった。

指示1 自分たちのグループが、どのように表面積を求めたか教えてください。
< 三角柱 > 15人
・一面ずつ計算するのは面倒なので、展開図で考えました。展開図にすると、三角形と長方形になります。それぞれの面積は
三角形 : 9× 12÷2が2つで 108 c㎡
長方形 : 10×(9+12+15) 306 c㎡
合計で : 108+360 = 468 c㎡
< 円柱 > 36人
・円柱も形は違うけれど、出し方の基本は同じです。教科書p21に式があるんですけど底面積×2+側面積で底面積は2つなので
円 : 5×5×3.14が2つで 157 c㎡
長方形 : 10×(10×3.14) 314 c㎡
合計で : 157+314=471 c㎡
< 四角柱 > 20人
・四角柱も展開図にしました。底面積が2つあるので、側面の長さは8cmが4面なので8×4
正方形 : 8×8が2つで 128 c㎡
長方形 : 11×(8×4) 352 c㎡
合計で : 128+352 = 480 c㎡

3つの立体の表面積を比べると、三角柱が一番小さいことがわかった。
結果は、三角柱:468 c㎡,円柱:471 c㎡,四角柱:480 c㎡であった。それぞれの面積を求めたあとで、共通点について尋ねてみた。
発問3
立体の表面積を求めるときに、似ているところはありましたか。
・展開図に直すこと
・底面が2つあること
・円と長方形、三角形と長方形、四角形と長方形のように、底面の形と長方形というように簡単な形になっている。
指示2 今から練習問題をしてみよう。自分が求めた以外の立体の計算をしよう。
底面の面積は求められるのだが、側面の面積が難しかった。立体の高さ×横の長さのうち、横の長さがよくわからないのである。
三角柱:三角形の各辺の合計
四角柱:四角形の各辺の合計
円柱:直径×3.14
この関係を十分把握させることが必要だと感じた。
3 プロフィール
静岡県教育サークル シリウス
1984年創立。
「理論より実践を語る」「子どもの事実で語る」「小さな事実から大きな結論を導かない」これがサークルの主な柱です。
最近では、技術だけではない理論の大切さも感じています。それは「子どもをよくみる」という誰もがしている当たり前のことでした。思想、信条関係なし。「子どもにとってより価値ある教師になりたい」という願いだけを共有しています。
4 書籍のご紹介 (シリウス関連)
クラスがぎゅっとひとつになる!成功する学級開きルール&アイデア事典
5 編集後記
今までの公式などを駆使して、想像することで、公式の根本的な成り立ちを理解できるところが素晴らしいと思いました。
(編集・文責:EDUPEDIA編集部 河村寛希)

コメント